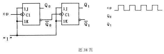
画出题38图所示异步时序电路的工作波形和状态转换图。(设起始状态Q1Q0=00)

作者:高老师 浏览 0

画出题38图所示异步时序电路的工作波形和状态转换图。(设起始状态Q1Q0=00)


【正确答案】:

📱 扫码体验刷题小程序

微信小程序二维码

扫一扫使用我们的微信小程序

热门题目

已复制到剪贴板