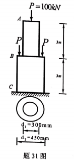
如题31图所示一阶梯形钢筋混凝土圆柱,其受力情况、杆件长皮与截面尺寸等信息如图(不计钢筋混凝土柱自重),试求柱的最大工作应力。
【正确答案】:
(1)做轴力图(答31图),求轴力在圆柱的分布,NAB=-100kN(压)。NBC=-300kN(压)
(2)计算AB段杆件应力:
(3)及计算BC段应力:
(4)BC段为危险截面,最大压应力为1.89MPa
如题31图所示一阶梯形钢筋混凝土圆柱,其受力情况、杆件长皮与截面尺寸等信息如图(不计钢筋混凝土柱自重),试求柱的最大工作应力。
(1)做轴力图(答31图),求轴力在圆柱的分布,NAB=-100kN(压)。NBC=-300kN(压)
(2)计算AB段杆件应力:
(3)及计算BC段应力:
(4)BC段为危险截面,最大压应力为1.89MPa
📱 扫码体验刷题小程序
扫一扫使用我们的微信小程序